
【文:洪七公】
「正義達人」和「捍衛族人的女戰士」之形象,原來都是政治包裝!筆者要戳破政客的謊言和戲碼,讓表裡不一的政治操作無所遁形,見光死。
第20屆花蓮縣議會第二次定期大會一讀會上演了一齣誇張的政治爛秀,本該代表人民監督縣政府的議員,卻倒行逆施的替縣府預算護航了起來,一場議員質詢起議會工作人員的荒唐戲碼令人瞠目結舌。會後該議員還到處散播破壞議會聲譽的言論,又以「正義達人」和「捍衛族人的女戰士」的形象包裝自己,原來這一切的動機背後,都潛藏著縣府與特定議員之間剪不斷,理還亂的利益糾葛。
為什麼縣議員會為縣府預算護航?原來也是在為自己的標案護航。我們就以笛布斯.顗賚的案例,來做第一個深入的研究和剖析所謂「一人得道,雞犬升天」、「上下其手,標案到手」。

花蓮縣連任五屆議員笛布斯.顗賚,聯合家族勢力,借勢藉端,原民會、縣政府最低標、最有利標案吃到滿,吃到飽。我們就來了解一下這個家族成員,是如何組成最強的「花蓮第一鏢局」,是如何遊走於政府標案之中,吃香喝辣,賺得缽滿盆滿。
1.笛布斯.顗賚的妹妹陳怡恩,是獨邁解決顧問有限公司負責人。
2.陳怡恩的丈夫是高志遠,高志遠是花蓮縣東海岸部落智慧旅遊協進會及社團法人花蓮縣原住民族公共事務促進會的創辦人,也是花蓮縣府原民處標案的常任評委。
由以上得知,笛布斯.顗賚是縣議員身分,與陳怡恩是親姊妹關係;高志遠和陳怡恩是夫妻關係。簡單一點的說法,就是對於政府勞務採購案,他們組成集團,完全沒有利益迴避,直接開幹。
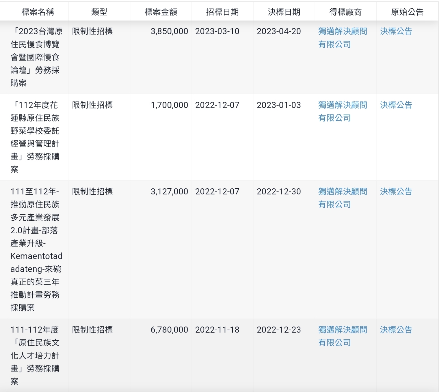
「獨邁解決顧問有限公司」於110-112年間,標得花蓮縣政府勞務採購標案有:
一、「112年度花蓮縣原住民族野菜學校原住民族地方通行語及傳統名稱標示設置計畫」700,000元(最有利標)。
二、「2023馬達加斯加音樂家Kilema訪花展演與交流計畫」505,000元(最低標)
三、2023「台灣原住民慢食博覽會暨國際慢食論壇」3,850,000元(最有利標)。
四、南島建誼之行「紐西蘭及法屬玻里尼西亞大溪地」800,000元(最有利標)。
五、「112年度花蓮縣原住民族野菜學校委託經營與管理計畫」850,000元(最有利標)。
六、「111至112年推動原住民族多元產業發展2.0計劃-部落產業升級-Kemaen to tadadateng-來碗真正的菜三年推動計畫」3,127,000元(最有利標)。
七、「111年法屬里尼西亞-大溪地互訪藝文交流初訪勞務採購」600,000元(最有利標)。
八、「花蓮縣原住民族流行音樂人才培育及短中長期推動委託規劃」120,000元(最有利標)。
九「2021花蓮慢食產業佈點暨國際原住民慢食論壇」7,000,000元(最有利標)。
自110年至112年,「獨邁解決顧問有限公司」就拿到花蓮縣政府約1755,2000元的標案。行政院原住民族委員會的得標案尚未估算,110年以前所得標的標案尚未統計。
說也奇怪!每次笛布斯.顗賚在質詢縣政府時,常有一些議題就是她妹妹後來得標的案子,難道「她」的質詢就是縣政府局處與笛布斯.顗賚的「標案通關密語」嗎?

為什麼笛布斯.顗賚急於為縣府預算護航,原來也是為自己的標案在護航,為了論功行賞,也是「摸蜆仔兼洗褲」,我終於看懂了。笛布斯.顗賚字字句句都是為族人爭取「福利和權益」,結果背後都在「與族人爭利」。
好好地當個全職的議員不行嗎?做一個坦蕩正義,正大光明,利益迴避的議員不行嗎?竟然聯合妹妹、妹婿把政府資源下放的經費吃乾抹淨,這樣對得起選民,對得起你口口聲聲深愛的族人嗎?
做一個正義凜然的花蓮縣議員,是不應該偷偷摸摸做這些狗屁倒灶的事,重點是,不該做的事也都做了,就不要在縣民的面前裝成「正義達人」、「捍衛族人的女戰士」,真的不好看,真的很難看!
筆者只不過隨便透過網路搜尋,就可以取得這些冰山一角的資料,如果再繼續深掘探秘,相信教育處、雙語學校、體育會、地方創生…等,一定還會有更多驚天的內幕可以爆料,難怪俗語常說:若要人不知,除非己莫為。
【以上言論不代表本報立場】
